LTE
SAE
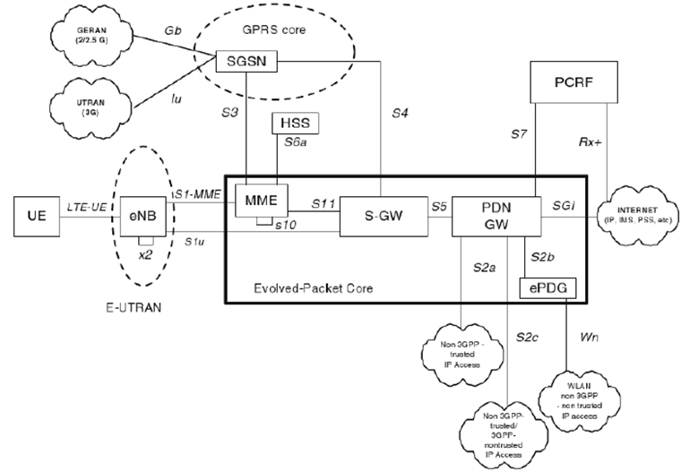
System Architecture Evolution
C'est l'architecture du coeur d'un réseau LTE.
Il se compose de 3 principaux éléments :
- MME - Mobility Manager Entity
- SGW - Serving Gateway
- PGW - PDN Gateway
Il est responsable de savoir à tous moment ou se trouve un utilisateur et de connaitre son état (au repos, connecté ...).
Il est aussi responsable de l'authentification des utilisateurs.
Il est responsable du transfert d'un relais à un autre. Il est capable d'effectuer se transfert vers un réseau 2G ou 3G.
C'est la passerelle vers les réseaux externe à l'opérateur.
Il est responsable du routage et permet aussi de remplir la fonction de part-feu.
Schema